
The PBF70 Portable Pinspotter features a multi-tap transformer allowing it to deliver precise, timed, low voltage to the welding tip for precision welds. This machine will weld pins from ½ inch to 4 inches long on steel from 26 to 16 gauge. A new, innovative, ergonomic, high impact gun allows more flexibility during operation. Proven solid-state weld control circuitry guarantees years of reliable, trouble-free
service in your shop.
FEATURES
- Heavy-duty caster wheels allow easy movement in the shop
- Hi/Lo power selection via two weld cable power ports for adjustments for different welding conditions
- Standard 16-foot gun cable and 11-foot ground cable. Gun & Cable 10ft: Item# 27275 16ft: Item# 27276
- Gun Cable is extendable to 24 feet with optional extension set (Item # 27054)
- Ergonomic, high impact weld gun allows more flexibility
- “Easy Read” weld timer adjustment for precise control
- Panel mounted test switch and indicator lights for easy troubleshooting
- Proven Solid State Control Circuitry
Electrical: Input voltage: 208-230 V 60 HZ single phase. 100-amp service
DIMENSIONS: Height: 37 inches x Width: 17 inches x Depth: 26 inches
Put the PBF70 to use in your shop as a bench tool.
To use your work bench as a welding table, cover the bench top with a copper (.025) inch thick sheet. Set the PBF70 alongside the bench top. Attach the PBF70 ground clamp to the copper sheet and it will act as a ground when the duct rests on the bench top. Activate the trigger switch and pins quickly weld every time. No burn marks or wasted pins due to misfires.
WHEEL PBF70 TO THE WORK: Where duct is too large to put on a bench, snap the ground clamp onto the duct and secure the insulation quickly by welding fasteners inside or outside of the ducts as required.
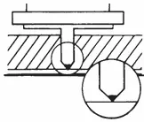
HOW FASTENERS ARE INSTALLED
- The needle-sharp point enables the operator to easily push the fastener through the insulation into firm
electrical contact with the metal duct.
- The welding cycle is activated by pressing the trigger switch on the gun. Current flowing through the
fastener’s high resistance point of contact creates instantaneous welds of extremely high strength.
- The flow of metal during the weld, firmly at taches and supports the fastener. It prevents breakaway
while handling ducts during transport and installation.
- No burn marks or discolorations of duct occur when using the recommended method of insulation
fastener attachment. Fasteners are permanently welded in position flush with insulation.
Call or E-Mail us on this stock item for your lowest delivered price.
We use cookies to improve your experience. Privacy Policy.